发布日期:2024-11-15 阅读量:622
气相液氮罐的组成部分是一个关键的方面,对于其有效存储和运输液氮至关重要。这些罐子主要由几个核心部分构成,包括内胆、外壳、绝热层、气体回流管以及安全阀。这些组件共同作用,以确保液氮在低温下的稳定性和安全性。
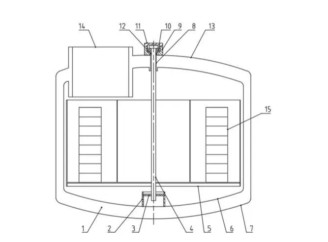
1、气相液氮罐,2、支撑座,3、支撑套,4、旋轴轴,5、转盘,6、内胆,7、外壳,8、真空绝热套,9、轴承座,10、轴承,11、密封盖,12、密封圈,13、外上封头,14、颈管口,15、冻存架。
内胆
气相液氮罐的内胆是其核心部分,负责直接接触液氮并承受其低温。内胆通常由高强度不锈钢或铝合金制成,以保证在极低温度下的耐用性。常见的内胆直径范围为15到30厘米,高度从30到70厘米不等,这取决于液氮罐的容量。为了保持液氮的低温,内胆通常会设计成双层结构,内部通过焊接固定,外部则提供额外的强度和稳定性。
外壳
外壳是液氮罐的保护层,通常由更厚的金属材料制成,如钢或铝。这一部分的主要功能是保护内胆,抵御外界的物理冲击和环境因素。外壳的厚度通常在2到5毫米之间,以提供足够的强度和耐久性。外壳的设计也考虑了散热问题,确保液氮罐在长时间使用中的稳定性。
绝热层
绝热层是气相液氮罐中至关重要的部分,用于防止液氮因热量传递而蒸发。绝热层一般由真空隔热材料或高效的绝热材料(如玻璃棉或聚氨酯泡沫)构成。真空隔热层的设计通常是在内胆和外壳之间形成一个高真空环境,这样可以大大降低热传导。绝热层的厚度和材料选择直接影响气相液氮罐的保温性能,通常在10到20厘米之间,具体取决于液氮罐的尺寸和用途。
气体回流管
气体回流管的主要作用是允许气体从罐内释放出来,以保持罐内的压力平衡。这些管道通常采用耐低温的材料制成,如不锈钢或镀镍铜,确保在低温环境下的可靠性和稳定性。回流管的设计包括一个控制阀门,用于调节气体释放的速度和量,从而避免过度的压力积累。
安全阀
安全阀是液氮罐中不可或缺的安全组件,用于防止罐内压力超过设计极限。安全阀通常安装在罐体的部或侧面,其工作原理是当罐内压力达到设定值时自动开启,释放多余的气体。常见的安全阀设定压力范围在0.5到2巴之间,具体参数取决于液氮罐的设计和应用需求。安全阀的定期检查和维护对于确保罐体的安全运行至关重要。
操作注意事项
在使用气相液氮罐时,需要特别注意几个操作细节。首先,液氮罐应置于通风良好的地方,以防止气体积聚引发危险。其次,操作人员需穿戴适当的防护装备,如耐低温手套和护目镜,避免与液氮直接接触。每次使用后,液氮罐应进行检查,确保所有组件正常运作,特别是安全阀和回流管的状态。
通过对气相液氮罐组成部分的详细了解,可以更好地操作和维护这些设备,以确保其在液氮存储和运输中的高效性和安全性。
下一条:液氮真空软管失去真空会怎样
